Biacore助力新型再循环抗体的研究
补体系统是先天免疫中的重要机制,提供了对微生物感染的强大防御。补体系统失调时会引起多种肾相关疾病,包括狼疮性肾炎、C3肾小球肾炎、非典型溶血性尿毒综合症(aHUS)、阵发性夜间血红蛋白尿症(PNH)。其中aHUS和PNH为罕见的血液疾病,具有生命危险,目前临床上主要使用依库珠单抗(Eculizumab)治疗。
再循环抗体(recycling antibody)可以在胞外结合抗原,在细胞内与抗原解离,由FcRn将抗体释放回到血液中,使抗体结合抗原次数最大化,减少抗原介导的抗体清除效应和抗体介导的抗原累积效应。研究人员研发得到一种新的靶向C5的人源化抗体SKY59,以pH依赖的方式与C5发生相互作用,抗体Fc段与FcRn结合后的循环作用有助于延长其在血液中的留存时间,使抗体药物具有更长的半衰期。
研究人员首先使用人源C5蛋白免疫兔子,产生了一系列的C5抗体。使用Biacore筛选出具有pH依赖性抗原结合的抗体,即在pH7.4的亲和力强于pH5.8。对得到的抗体CFA0305进行人源化改造、pH依赖的亲和力优化以及Fc受体结合能力改进(图1),最终得到人源化抗体SKY59。从Biacore结果可以看到,CFA0305抗体与改造后的SKY59抗体与C5的结合活性均具有不同程度的pH依赖性(图1 实线=pH 7.4,虚线=pH 5.8)
随后研究人员使用Biacore T200将ProA/G偶联在C1芯片上,在37℃下分别捕获CFA0305和SKY59抗体,人源与猴源的C5蛋白作为分析物,检测在不同的pH条件下的亲和力与动力学。如表1所示,改造后的人源化抗体SKY59与C5的亲和力均高于CFA0305。并且SKY59抗体与人源C5在pH7.4的亲和力为1.52 ×10−10 M,在pH 5.8的亲和力为1.68 ×10−7 M,两者在pH7.4中的亲和力比在pH 5.8中的亲和力高1105倍,定量数据再次验证了抗体SKY59以pH依赖的方式与C5结合。除此之外SKY59与FcRn的亲和力高于常见的抗体药物曲妥珠单抗(Trastuzumab) ,预测SKY59在体内有更长的半衰期(表1)。
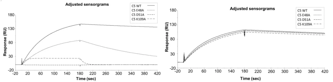
为了进一步确认SKY59和C5之间作用的关键位点。研究人员首先通过Western blot分析得知SKY59与C5上的MG1结构域(20–124)结合,X射线晶体结构也显示MG1结构域的三个氨基酸E48、D51和K109有可能影响与SKY59的结合(图2)。为了确认这一结果,研究人员用丙氨酸取代 E48、D51和K109,得到三个新的C5突变体。使用Biacore 将ProA/G偶联在CM4芯片上,在37℃下分别捕获SKY59抗体,依次流过3个C5蛋白的突变株上清液(4μg/ml) ,结果显示突变后的C5蛋白与SKY59抗体的结合能力急剧下降,证明MG1结构域的三个氨基酸E48、D51和K109确实是SKY59和C5结合的关键位点(图3a)。同时从Eculizumab与三个C5突变体的互作结果可以发现结合能力没有明显差异(图3b),说明SKY59与Eculizumab结合于C5的不同表位。
X射线晶体结构还显示人源C5上的三个组氨酸残基H70, H72,H110也参与到了和SKY59的相互作用中。研究人员假设这几个组氨酸残基与SKY59抗体pH依赖性地结合C5有关,在Biacore上设计实验验证这一猜想。SKY59抗体结合不同的C5蛋白组氨酸突变体形成的复合物在pH 7.4解离一段时间后,用pH 5.8的缓冲液继续解离(图4a),比较各突变体和野生型C5在pH 5.8中解离速率的差异(图4b)。结果显示在pH 5.8时,H70Y结离速率比WT慢3倍,而H70Y+H110Y双突变的C5解离速率更慢,几乎是C5野生型的5倍,这证实了C5蛋白70位和110位的组氨酸与pH依赖性抗原结合密切相关。将C5中72位的组氨酸突变后得到的H72Y突变体失去了结合SKY59抗体的能力,表明这一组氨酸对于C5结合SKY5抗体是必须的(图4a)。
最后研究人员通过一系列动物实验证明这种新型的再循环抗体SKY59具有更长的半衰期,在猕猴中单次给药(20mg/kg)即可在长达两个月的时间内抑制补体活性。SKY59抗体这种pH依赖性的抗原结合方式,在抗原抗体复合物被内化进细胞后,在内涵体酸性的环境下,再循环抗体与抗原解离,解离抗原后的抗体被FcRn捕获循环到胞外,在胞外中性的环境下,FcRn将抗体释放,回到血浆中的SKY59抗体可以再结合C5,实现抗体的循环使用,可以降低患者的给药频率,为补体相关疾病患者与家属带来更多的安全性与便利性。
回顾整篇文章,研究人员采用Biacore在分子水平上证实了再循环抗体SKY59与靶点C5结合的pH依赖性,相互作用机制与表位分析。并且结合动物实验证明这一抗体药能延长其药效,对于补体系统失调所引起的疾病是一个有潜力的临床治疗手段(图5)。
Biacore作为分子互作的金标准在整个研究中提供了大量核心数据,也体现了强大的优势:Biacore可以对分析温度和样品舱温度独立设置4-45℃的精确控温,可以轻松实现在本研究中37℃生理温度下的互作检测。作为主角的再循环抗体SKY59具有pH依赖性结合C5的特性,因此实验中需要频繁切换不同pH的缓冲液进行实验,Biacore的buffer selector可以切换四种缓冲液入口实现pH 7.4和pH 5.8不同条件的自动转换。此外Biacore实验中不仅可以使用纯化的C5蛋白作为分析物,也可以直接取细胞上清进行检测,实现对粗样品的直接检测。相信有了Biacore助力,未来一定会有越来越多的抗体药物从研发走向上市,构建人类健康未来。

收藏
询价